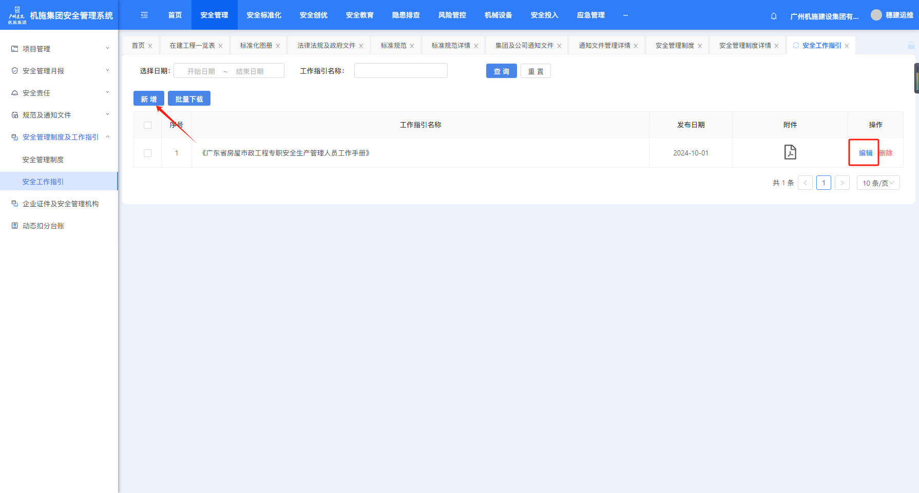
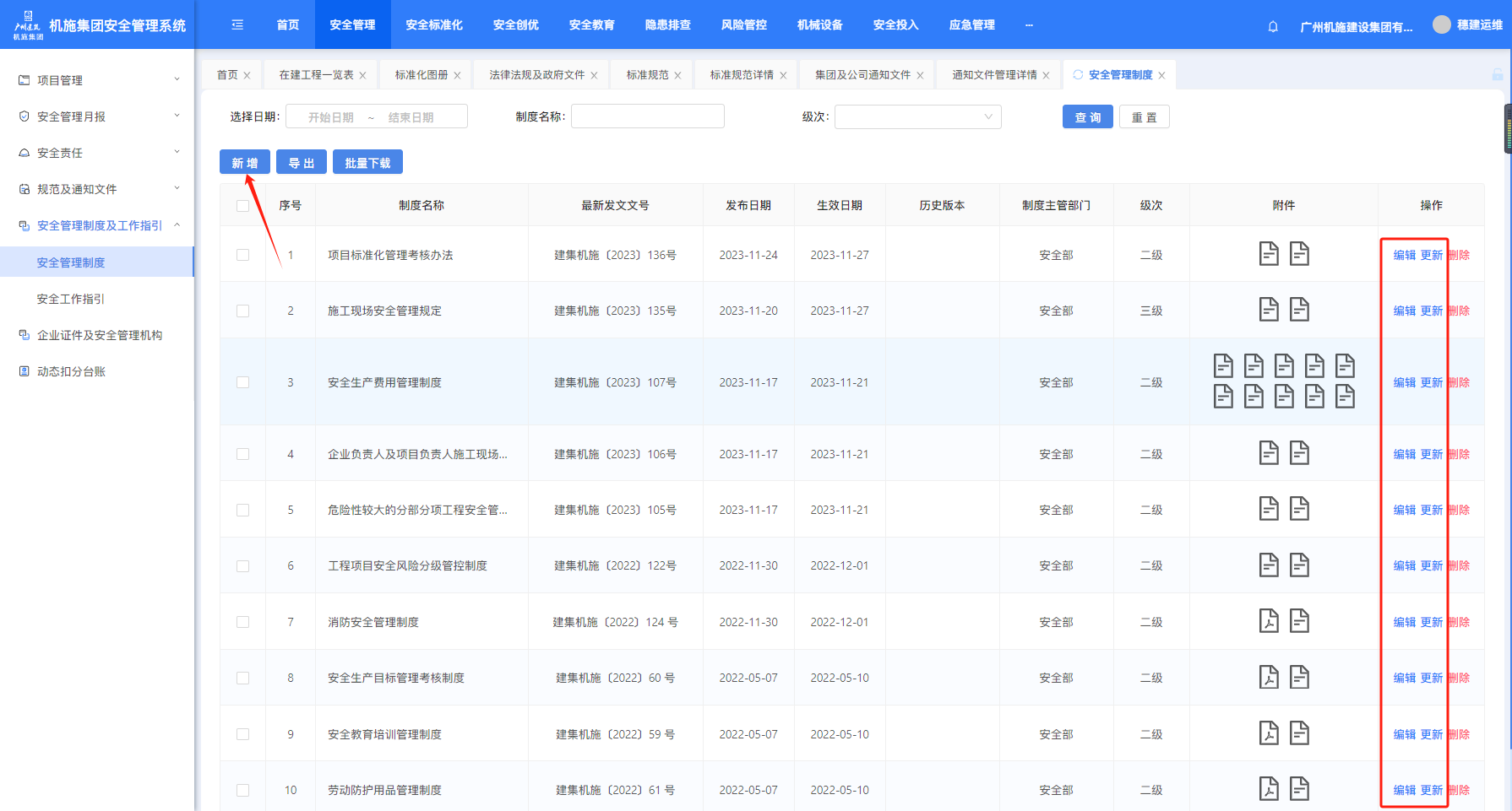
目录 搜索 展开 机施安全部功能操作说明一、安全管理1、项目管理2、安全管理月报3、安全责任4、规范及通知文件5、安全管理制度及工作指引6、企业证件及安全管理机构7、动态扣分台账二、安全标准化三、安全创优1、在建项目安全创优2、项目安全创优台账3、省双优检管理4、创优证书列表四、安全教育1、在线教育设置2、公司年度安全教育3、安全技术交底模板管理及配置五、隐患排查1、安全隐患排查2、安全验收管理六、风险管控七、机械设备八、安全投入九、应急管理十、安全考核十一、安全事故工程管理部功能操作说明一、安全管理1、项目管理2、安全管理月报3、安全责任4、规范及通知文件5、安全管理制度及工作指引6、动态扣分台账二、安全标准化三、安全创优1、在建项目安全创优2、项目安全创优台账3、省双优检管理四、安全教育五、隐患排查1、安全隐患排查2、安全验收管理六、风险管控七、机械设备八、安全投入九、应急管理十、安全考核项目部功能操作说明一、安全管理1、安全管理月报2、安全责任3、规范及通知文件4、安全管理制度及工作指引5、动态扣分台账6、施工安全日志二、安全标准化三、安全创优1、在建项目安全创优2、项目安全创优台账3、省双优检管理四、安全教育五、隐患排查1、安全隐患排查2、安全验收管理六、风险管控七、机械设备八、安全投入九、应急管理 暂无相关搜索结果! 阅读次数:199 本文档使用 MinDoc 发布 5、安全管理制度及工作指引 5.1.安全管理制度打开“安全管理制度及工作指引-安全管理制度”,点击“新增”创建安全管理制度。填写详细信息上传附件,点击“保存”完成创建。 5.2.安全工作指引打开“安全管理制度及工作指引-安全工作指引”,点击“新增”创建安全工作指引。填写详细信息上传附件,点击“保存”完成创建。作者:周子艺 创建时间:2024-11-21 08:59最后编辑:周子艺 更新时间:2025-04-22 14:01
5.1.安全管理制度打开“安全管理制度及工作指引-安全管理制度”,点击“新增”创建安全管理制度。填写详细信息上传附件,点击“保存”完成创建。 5.2.安全工作指引打开“安全管理制度及工作指引-安全工作指引”,点击“新增”创建安全工作指引。填写详细信息上传附件,点击“保存”完成创建。作者:周子艺 创建时间:2024-11-21 08:59最后编辑:周子艺 更新时间:2025-04-22 14:01