目录 搜索 展开 机施安全部功能操作说明一、安全管理1、项目管理2、安全管理月报3、安全责任4、规范及通知文件5、安全管理制度及工作指引6、企业证件及安全管理机构7、动态扣分台账二、安全标准化三、安全创优1、在建项目安全创优2、项目安全创优台账3、省双优检管理4、创优证书列表四、安全教育1、在线教育设置2、公司年度安全教育3、安全技术交底模板管理及配置五、隐患排查1、安全隐患排查2、安全验收管理六、风险管控七、机械设备八、安全投入九、应急管理十、安全考核十一、安全事故工程管理部功能操作说明一、安全管理1、项目管理2、安全管理月报3、安全责任4、规范及通知文件5、安全管理制度及工作指引6、动态扣分台账二、安全标准化三、安全创优1、在建项目安全创优2、项目安全创优台账3、省双优检管理四、安全教育五、隐患排查1、安全隐患排查2、安全验收管理六、风险管控七、机械设备八、安全投入九、应急管理十、安全考核项目部功能操作说明一、安全管理1、安全管理月报2、安全责任3、规范及通知文件4、安全管理制度及工作指引5、动态扣分台账6、施工安全日志二、安全标准化三、安全创优1、在建项目安全创优2、项目安全创优台账3、省双优检管理四、安全教育五、隐患排查1、安全隐患排查2、安全验收管理六、风险管控七、机械设备八、安全投入九、应急管理 暂无相关搜索结果! 阅读次数:209 本文档使用 MinDoc 发布 3、安全责任 3.1.公司项目安全组织架构打开“安全责任”-“公司项目安全组织架构”页面,筛选查询参建项目的安全责任架构。筛选并点“导出”,可以下载筛选的组织架构表格。 3.2.安全责任管理1)公司安全负责人打开“安全责任”-“安全责任管理”页面,筛选项目,点击编辑。点击添加项目经理和添加安全员,选择人员和任命时间,确认添加,完成分配项目经理和安全员操作。添加项目经理和安全员后,可以上传安全生产第一责任人任命书、任命状、安全生产承诺书等资料,落实项目安全责任。`作者:周子艺 创建时间:2024-11-20 17:56最后编辑:周子艺 更新时间:2025-04-22 14:01
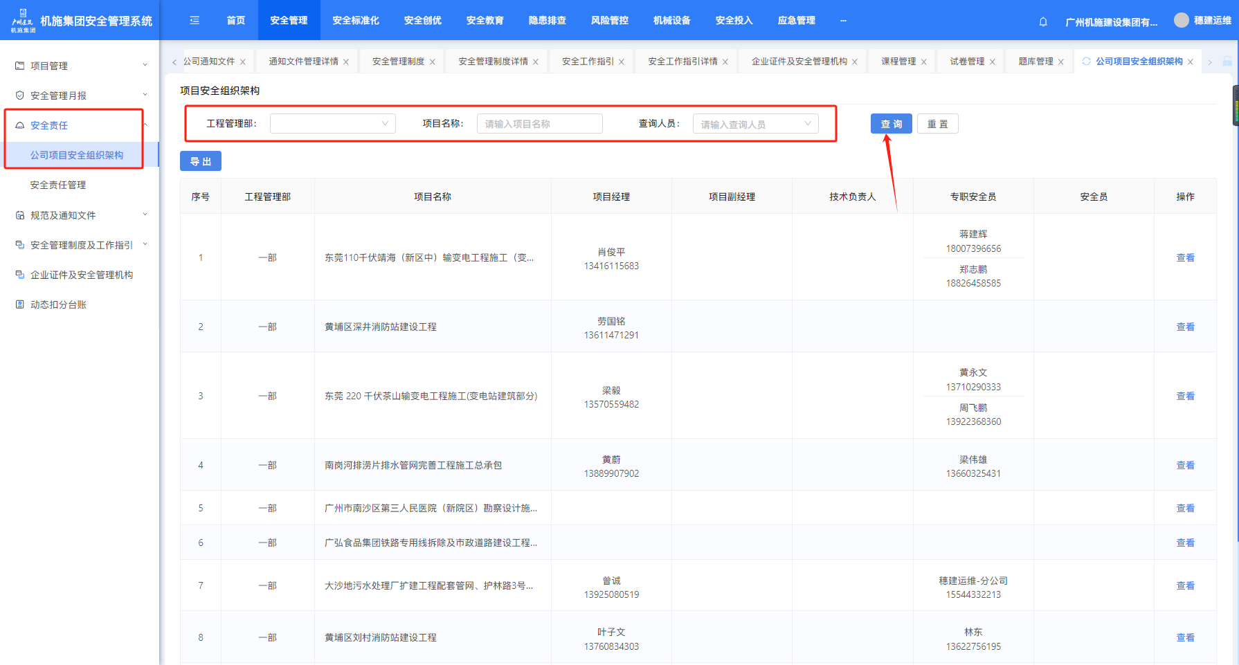
3.1.公司项目安全组织架构打开“安全责任”-“公司项目安全组织架构”页面,筛选查询参建项目的安全责任架构。筛选并点“导出”,可以下载筛选的组织架构表格。 3.2.安全责任管理1)公司安全负责人打开“安全责任”-“安全责任管理”页面,筛选项目,点击编辑。点击添加项目经理和添加安全员,选择人员和任命时间,确认添加,完成分配项目经理和安全员操作。添加项目经理和安全员后,可以上传安全生产第一责任人任命书、任命状、安全生产承诺书等资料,落实项目安全责任。`作者:周子艺 创建时间:2024-11-20 17:56最后编辑:周子艺 更新时间:2025-04-22 14:01