二十二、危大工程
项目流程
危大工程专项施工方案
打开“危大工程”-“危大工程专项施工方案”筛选完条件后,点击“查询”按钮,对施工方案进行筛选,点击“重置”按钮,对筛选进行重置。选“编辑”对施工方案进行编辑,选“删除”对施工方案进行删除。
打开“危大工程”-“危大工程专项施工方案”点击“新增”按钮新增施工方案。
填写数据后,点击“保存”按钮。
打开“危大工程”-“危大工程专项施工方案”,点击“导出”按钮,将数据导出为excel。

危大/超危确认表
打开“危大工程”-“危大超危确认表”筛选完条件后,点击“查询”按钮,对项目进行筛选,点击“重置”按钮,对筛选进行重置。选“编辑”对确认表进行编辑,选“删除”对确认表进行删除,选“导出”对数据栏数据进行导出,导出为excel。

打开“危大工程”-“危大超危确认表”点击“新增”按钮,进入新增页,对“危险性较大的分部分相工程确认表”和“超过一定过规模的危险性较大的分部分项工程确认表”这两张表,内容进行“是”或“否”填写,然后保存。

打开“危大工程”-“危大超危确认表”选择数据条目“下载资料”按钮,危大超危的两张确认表进行下载,下载的是压缩包,需要解压。点击左侧小方框然后点击“批量下载”对不同项目的危大超危的确认表进行批量下载。
危大工程管理
打开“危大工程”-“危大工程管理”对管理的项目进行筛选,也可以点“重置”按钮进行搜索框重置。点“编辑”按钮,对数据项进行编辑,点“删除”按钮对数据项进行删除。
打开“危大工程”-“危大工程管理”点击“导出”按钮,对数据项进行导出。导出的是excel。

打开“危大工程”-“危大工程管理”点击“新增”按钮,对项目工程进行新增。
点击“添加施工工程”按钮,对危大工程进行新增,例如“危大工程2”,填写完成后保存。
注:
打开“危大工程”-“危大工程管理”点击“验收表”图标,对验收表进行下载,下载为excel。

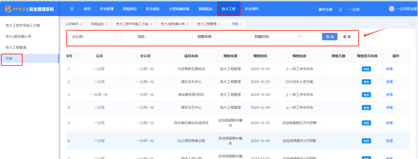
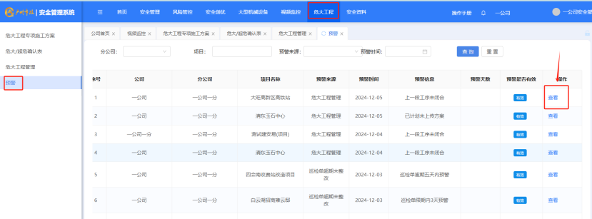
预警
“危大工程”-“预警”添加筛选条件,点击“查询”对预警进行筛选。点击“重置”按钮,对筛选重置。
“危大工程”-“预警”添加筛选条件,点击“查看”对预警来源进行查看。

分公司流程
危大工程专项施工方案
打开“危大工程”-“危大工程专项施工方案”筛选完条件后,点击“查询”按钮,对施工方案进行筛选,点击“重置”按钮,对筛选进行重置。
打开“危大工程”-“危大工程专项施工方案”,点击“导出”按钮,将数据导出为excel。

危大/超危确认表
打开“危大工程”-“危大超危确认表”筛选完条件后,点击“查询”按钮,对项目进行筛选,点击“重置”按钮,对筛选进行重置,选“导出”对数据栏数据进行导出,导出为excel。

打开“危大工程”-“危大超危确认表”点击左侧小方框然后点击“批量下载”对不同项目的危大超危的确认表进行批量下载。

危大工程管理
打开“危大工程”-“危大工程管理”筛选完条件后,点击“查询”按钮,对项目进行筛选,点击“重置”按钮,对筛选进行重置。
打开“危大工程”-“危大工程管理”点击“导出”按钮,对数据项进行导出。导出的是excel。

打开“危大工程”-“危大工程管理”点击“验收表”图标,对验收表进行下载,下载为excel。

预警
“危大工程”-“预警”添加筛选条件,点击“查询”对预警进行筛选。点击“重置”按钮,对筛选重置。
“危大工程”-“预警”添加筛选条件,点击“查看”对预警来源进行查看。

公司流程
危大工程专项施工方案
打开“危大工程”-“危大工程专项施工方案”筛选完条件后,点击“查询”按钮,对施工方案进行筛选,点击“重置”按钮,对筛选进行重置。
打开“危大工程”-“危大工程专项施工方案”,点击“导出”按钮,将数据导出为excel。

危大/超危确认表
打开“危大工程”-“危大超危确认表”筛选完条件后,点击“查询”按钮,对项目进行筛选,点击“重置”按钮,对筛选进行重置,选“导出”对数据栏数据进行导出,导出为excel。

打开“危大工程”-“危大超危确认表”点击左侧小方框然后点击“批量下载”对不同项目的危大超危的确认表进行批量下载。

危大工程管理
打开“危大工程”-“危大工程管理”筛选完条件后,点击“查询”按钮,对项目进行筛选,点击“重置”按钮,对筛选进行重置。
打开“危大工程”-“危大工程管理”点击“导出”按钮,对数据项进行导出。导出的是excel。

打开“危大工程”-“危大工程管理”点击“验收表”图标,对验收表进行下载,下载为excel。

预警
“危大工程”-“预警”添加筛选条件,点击“查询”对预警进行筛选。点击“重置”按钮,对筛选重置。
“危大工程”-“预警”添加筛选条件,点击“查看”对预警来源进行查看。

集团流程
危大工程专项施工方案
打开“危大工程”-“危大工程专项施工方案”筛选完条件后,点击“查询”按钮,对施工方案进行筛选,点击“重置”按钮,对筛选进行重置。
打开“危大工程”-“危大工程专项施工方案”,点击“导出”按钮,将数据导出为excel。

危大/超危确认表
打开“危大工程”-“危大超危确认表”筛选完条件后,点击“查询”按钮,对项目进行筛选,点击“重置”按钮,对筛选进行重置,选“导出”对数据栏数据进行导出,导出为excel。

打开“危大工程”-“危大超危确认表”点击左侧小方框然后点击“批量下载”对不同项目的危大超危的确认表进行批量下载。

危大工程管理
打开“危大工程”-“危大工程管理”筛选完条件后,点击“查询”按钮,对项目进行筛选,点击“重置”按钮,对筛选进行重置。
打开“危大工程”-“危大工程管理”点击“导出”按钮,对数据项进行导出。导出的是excel。

打开“危大工程”-“危大工程管理”点击“验收表”图标,对验收表进行下载,下载为excel。

预警
“危大工程”-“预警”添加筛选条件,点击“查询”对预警进行筛选。点击“重置”按钮,对筛选重置。
“危大工程”-“预警”添加筛选条件,点击“查看”对预警来源进行查看。

最后编辑:周子艺 更新时间:2026-03-25 16:28